创新未来 与你同行

MENU

  • 首页
  • 资讯
  • 评测
  • 91che
  • 观点
  • 人物
  • 数据
  • 游戏
  • 新品
  • AI
  • 娱乐
  • 滚动
  • 投稿
    投稿采纳即付稿费
首页 - 最新文章 - VR

VR

  • 【8点7分】索尼暂无AR计划,亚马逊做活动收集人体3D数据

    【8点7分】索尼暂无AR计划,亚马逊做活动收集人体3D数据

    87870|6年前
    亚马逊向公众征集人体3D数据,用于AR购物 大多数人都知道,帮亚马逊分销产品可以获得收入,但亚马逊现在又提供了一种新的涉及3D技术的分利方式。 “A
  • 圣乔治大学医院正式采用Fundamental VR的培训项目

    圣乔治大学医院正式采用Fundamental VR的培训项目

    87870|6年前
    软件公司Fundamental VR多年来一直专注于VR的医疗保健领域,并于2018年推出了其外科教学平台basic Surgery。本周,该公司宣布,其软件已成为西南伦敦注
  • 爱奇艺发布多款奇遇系列VR新品及6DoF定位一体机套装

    爱奇艺发布多款奇遇系列VR新品及6DoF定位一体机套装

    87870|6年前
    5月9日,2019爱奇艺世界大会在京正式开幕。本次为期2天的大会,涵盖娱乐趋势和爱奇艺战略分享、智能视频科技、网剧、电影、动漫、影游等12场高峰论坛
  • Computex 2019:AMD推出7nm处理器Ryzen 3900X

    Computex 2019:AMD推出7nm处理器Ryzen 3900X

    87870|6年前
    AMD公司首席执行官Lisa今日在台北国际电脑展上发表了主题演讲。同时AMD公布了有关其芯片和图形处理器的消息,这将加大英特尔和英伟达在价格和性能
  • 迎接5G技术,ARM发布新CPU、GPU与机器学习处理器

    迎接5G技术,ARM发布新CPU、GPU与机器学习处理器

    87870|6年前
    台湾举办的Computex技术贸易展上,Arm发布了全新的高负载CPU、图形芯片以及机器学习芯片设计。新发布的芯片包括Cortex-A77 CPU,Mali-G77 GPU以及Arm
  • Facebook收购Oculus已经接近5年,扎克伯格的VR梦如何了?

    Facebook收购Oculus已经接近5年,扎克伯格的VR梦如何了?

    87870|6年前
    扎克伯格已经向他的VR梦想(Facebook旗下的一个新平台)投入了数十亿美元。 Facebook收购了Oculus,并在过去5年里一直在重塑Oculus,并将其培养为一家F
  • 87晚汇丨AMD推Ryzen 3900X ARM发布新CPU

    87晚汇丨AMD推Ryzen 3900X ARM发布新CPU

    87870|6年前
    今天的热点有:Oculus:Quest支持边充电边使用;圣乔治大学医院正式采用Fundamental VR的培训项目;爱奇艺发布多款奇遇系列VR新品及6DoF定位一体机套装;Co
  • 《全民高尔夫VR》让你足不出户打高尔夫球

    《全民高尔夫VR》让你足不出户打高尔夫球

    93913|6年前
    漫步在阳光之下,用力挥舞球杆,球体在空中划出一条完美的弧线,向着目标的洞口飞去,自电子游戏发展初始,诸多运动游戏便是在这其中永远不会缺席的一组成员,而在这之中“
  • 手机扫一扫 古窑“活起来”!AR带你一秒穿越千年

    手机扫一扫 古窑“活起来”!AR带你一秒穿越千年

    93913|6年前
    5月17日,杭州南宋官窑博物馆推出一项黑科技,只需一部手机就能玩转博物馆,全程实现AR研学! 游客只需掏出手机,下载“向向”App,扫描描绘南宋官窑制瓷工艺的仿古图,南宋
  • AR版《我的世界》开启了封测报名

    AR版《我的世界》开启了封测报名

    93913|6年前
    微软刚在《我的世界》十周年纪念日发布了最新的AR版手游《我的世界:地球》,可万万没想到只过了几日,国际官网就已经开启了《我的世界:地球》的封测报名。 其实早在
  • VR水下生存游戏《Freediver:Triton Down》支持Vive和Rift

    VR水下生存游戏《Freediver:Triton Down》支持Vive和Rift

    93913|6年前
    Evasion开发商Archiact下周将推出最新游戏《Freep> Freep> 《Freep> 《Freep> 《Freep> 《Freep>
  • 多人射击VR游戏《Front Defense:Heroes》登陆Viveport支持免费下载

    多人射击VR游戏《Front Defense:Heroes》登陆Viveport支持免费下载

    93913|6年前
    《Front Defense:Heroes》是一款第一人称多人射击VR游戏,由Fantahorn Studio开发。近期该游戏结束了抢先体验版本,HTC宣布在5月23日至30日期间将在Viveport提供《F
  • 波士顿Rose Kennedy Greenway是北美最大的AR展览之一

    波士顿Rose Kennedy Greenway是北美最大的AR展览之一

    93913|6年前
    如果您熟悉波士顿,那么您就会知道Rose Fitzgerald Kennedy Greenway的所有景点,这里有美丽的花园,长廊,广场和喷泉。 由于Greenway Conservancy,Hoverlay和Boston Cy
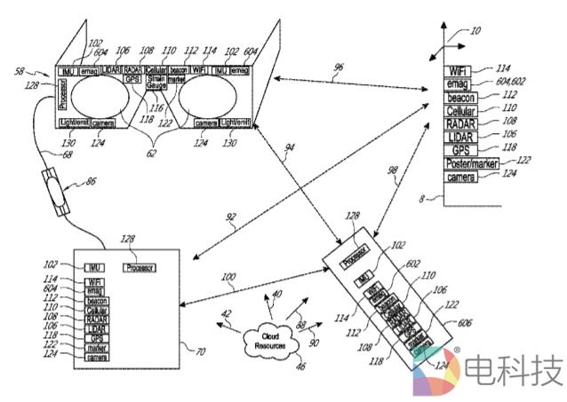
  • Facebook发布AR眼镜最新专利

    Facebook发布AR眼镜最新专利

    93913|6年前
    Facebook近日发布了一项AR眼镜专利,该专利概述了“软骨传导音频系统”,可将相关声音直接传输到佩戴者耳中。 佩戴者将通过声学传感器以及AR眼镜获得更加身临其境
  • 9495
  • 312
  • 313
  • 314
  • 315
  • 316
  • 317
  • 318
  • 319
  • 320
  • 321

推荐

  • 2026年,新能源汽车产业的五条“斩杀线”,条条都是生死线
    头条
    2026年,新能源汽车产业的五条“斩杀线”,条条都是生死线
    袁创1天前
  • 美的伏拥军离职,千万股权背后是中国家电老臣主动让贤的产业迭代序幕
    头条
    美的伏拥军离职,千万股权背后是中国家电老臣主动让贤的产业迭代序幕
    袁创2天前
  • 吉利怒告欣旺达,索赔23 亿,起因为去年极氪001充电变慢事件
    头条
    吉利怒告欣旺达,索赔23 亿,起因为去年极氪001充电变慢事件
    袁创3天前

电科技图说

  • 开箱华为路由器X3 Pro:当小方盒遇上东方美学,家居从此日照金山
    开箱华为路由器X3 Pro:当小方盒遇上东方美学,家居从此日照金山
    1个月前
  • 从邀请函看夸克AI眼镜将如何重构“先见之明”
    从邀请函看夸克AI眼镜将如何重构“先见之明”
    1个月前
  • 晴小豆双目摄像头D220,萌系外表下360度无死角的安防 “守护神”
    晴小豆双目摄像头D220,萌系外表下360度无死角的安防 “守护神”
    1个月前
  • 联想小新 Pro14 GT Ultra 5 225H 开箱:金属质感的性能级轻薄本
    联想小新 Pro14 GT Ultra 5 225H 开箱:金属质感的性能级轻薄本
    1个月前

电科技专题

电科技第五届「星云奖」

电科技第五届「星云奖」

电科技第四届「星云奖」

电科技第四届「星云奖」

2024CCBN网络微短剧创新论坛

2024CCBN网络微短剧创新论坛

AWE中国家消费电子博览会

AWE中国家消费电子博览会

电科技第三届「星云奖」

电科技第三届「星云奖」

云启未来-视界磅礴

云启未来-视界磅礴

电科技第二届「星云奖」

电科技第二届「星云奖」

“抖屏”新物种

“抖屏”新物种

2021大屏世界 云游未来

2021大屏世界 云游未来

大屏新物种“抖屏”,开创OTT流量新蓝海


大屏新物种“抖屏”,开创OTT流量新蓝海


关于我们|加入我们|欢迎投稿|联系我们|友情链接

反馈建议: marketing@diankeji.com

合作伙伴

创业蜂巢TMTTOM科技网易科技贷帮网蓝鲸TMT猎云网连接网投资界品途大公网搜狐199it缘创派唯象网机器人库

关注

微信二维码
微信公众号
微博二维码
新浪微博
Copyright © All Rights Reserved 北京鼎衡丰汇文化传播有限公司 返回顶部
京ICP备12009809号-4 京公网安备11010802016168