据外媒报道,苹果周二获得一项新专利,涉及到一种组件丰富的圆柱形设备的设计和制造方式;这印证了之前
据外媒报道,苹果周二获得一项新专利,涉及到一种组件丰富的圆柱形设备的设计和制造方式;这印证了之前关于苹果正在开发一款圆柱形“Siri智能扬声器”的传闻。

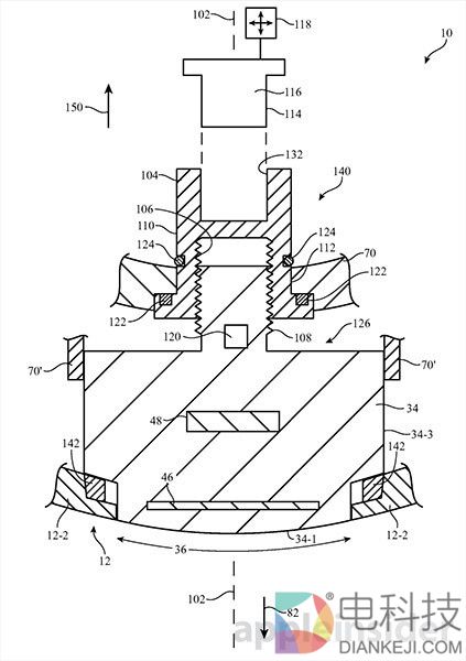
这项专利是美国第9651999号专利,专利名称是“组件径向排列的电子设备”,专利中描述了在圆柱形容器中安装各种组件的方法,然后再将这个圆柱形容器安装到另一个类似外形的外壳中。
虽然这项专利似乎覆盖了苹果的某些现有产品比如Mac Pro,但是其中提及的组件更适合用在外形相对更小的密封式设备中,比如传言所说的“Siri智能扬声器”。据说苹果最早可能会在下个月发布Siri智能扬声器。

具体来说,这项发明概述了将触摸显示屏、麦克风、加速计、陀螺仪、传感器、扬声器、指示灯以及其他电子组件安装到一个特制的支持结构中的方法。在将各种组件安装到圆柱形设备外壳中的时候,这些支持结构起到加固的作用。
重要地是,专利提到的安装方法可以让各种组件与圆柱形外壳平行或接近于平行,在某些情况下,就可以在相关组件上方预留相应功能的开口。例如,扬声器和麦克风的上方可以预留用来网格的开口,还可以用玻璃或塑料外壳来保护板上的显示屏。
专利文件还介绍了将这些组件部署到相应的安装位置的方法。苹果提到一系列技术,可以呈放射状部署各种组件和组件结构,或者向外移动某些组件。总的来说,可以在设备外壳内提供一个支持结构并对各种组件进行调整,最终将它们调整到正确的位置。
这个过程可以通过各种方法实现,包括螺丝、斜坡结构、支撑柱和特制部署工具。在大多数情况下,组件四周都会安装垫圈以便将它们与外壳隔离开来,但是同时也会为了声音传播或空气流动的缘故而留下一点缝隙。

这项专利在某种程度上暗合苹果Mac Pro的设计,苹果将后者的操作组件部署在一个独特的三角形散热槽中,隐藏在光滑的圆柱形铝制外壳之下。与这项新专利描述的方法不同的是,Mac Pro只对特定的地方进行了密封处理。这样就可以保证关键组件可以接触到足够的气流,同时也可以给用户留下一定的空间,以便他们在必要时打开设备外壳进行维修。
相同的制造技术可能会被用于市场期待已久的Siri智能扬声器中。据市场传闻称,Siri智能扬声器会采用一种类似于Mac Pro的圆柱形设计。业内人士预计这款产品会在6月份的WWDC大会上亮相,与目前市面上已经出现的、带语音功能的智能扬声器比如亚马逊的Echo展开竞争。
据市场传闻称,Siri智能扬声器除了可以提供一流的音响效果和Siri智能助手,它还将搭载苹果的AirPlay技术、W1芯片和定制的A系列处理器。
凯基证券分析师郭明錤在最新的投资者报告中指出,他预计苹果的智能扬声器将整合某种类型的触摸面板和最基本的物理控制解决方案。目前还不清楚这是否意味着Siri智能扬声器会像亚马逊最近刚刚发布的Echo Show一样配备触摸感应显示屏,或者只是配备一些简单的电容式按键。
这项专利的申请书是苹果在2015年5月提出的,专利发明人是菲利普-迈克尔-霍伯森(Phillip Michael Hobson)、内森-P-伯斯切尔(Nathan P. Bosscher)、约翰-J-贝克尔(John J. Baker)、克莱格-M-斯坦利(Craig M. Stanley)和布莱德-G-布泽尔(Brad G. Boozer)。
评论区(0)