"补税"事件还在继续。 12月5日,据网友曝料,影片《战狼2》的收益需要补缴税款,因为《战狼2》的出品方中有3家公司的注册地都在霍尔果斯,它们分别是春秋时代(霍尔果斯
“补税”事件还在继续。
12月5日,据网友曝料,影片《战狼2》的收益需要补缴税款,因为《战狼2》的出品方中有3家公司的注册地都在霍尔果斯,它们分别是春秋时代(霍尔果斯)影业有限公司、霍尔果斯橙子映像传媒有限公司、霍尔果斯登峰国际文化传播有限公司,后两者的实控人分别为邓超和吴京。
《战狼2》被曝需要“补税”之后,更多人关注到吴京的投资版图。从天眼查的信息来看,吴京名下共4家公司,关系并不复杂,都与《战狼2》有关。

其中,吴京参投的北京聚光绘影科技有限公司是一家特效制作公司,曾为《战狼2》《智取威虎山》《狼图腾》等制作特效,目前估值2.55亿。此外,北京登峰国际为《战狼2》的主控方,凯燃影视为登峰国际的股东之一,霍尔果斯登峰国际也参与了《战狼2》的投资。根据北京文化和聚合影联8亿保底的分成比例,登峰国际及其他出品方可获得的分成收入约18.9亿元,但其中需要“补税”的部分并未确定。
无独有偶,此前,港媒曝光了一份被约谈“补税”的明星名单,吴京也位列其中。另外还有:邓超、孙俪、黄晓明、Angelababy、杨幂、吴奇隆、霍建华、赵丽颖、赵薇、周迅、徐峥、黄渤、吴秀波等。据港媒称,这些明星的补税金额都在2亿人民币以上。

实际上,此前已有网友曝光了其中6位明星需要补缴税款的大致数额:某顶级流量年轻男星:2--3亿;某影视综艺多栖发展的综艺常驻男星:1.4亿;某专注影视作品的话题小花:1.6亿;某电视剧人气小花:单一个地区补税6000万以上,总额上亿;某大花:2亿以上; 某演艺事业和商业两边抓的小生:5--6亿。6人涉税总额超14亿。尽管此曝料中并未透露具体姓名,但从描述指向性来看,与昨日曝光的名单高度契合。
此外,《中国经营报》记者独家从横店当地的可靠信源处得知,根据国家税务总局下达到各地的通知,这项标准只是针对明星工作室,并非是针对所有工作室和影视公司,而明星可能更多指的是一线明星。

从港媒曝光名单所其涉及的明星来看,也都是当前的一线大咖。他们或将面临巨额“补税”,具体补缴多少还与他们的投资版图相关。据调查,黄晓明名下公司多达51家,投资多个领域;赵薇也有18家公司,并入股唐德影视、阿里影业等;徐峥成立真乐道后,又与宁浩一起入股欢喜传媒。相比之下,霍建华、周迅则低调谨慎,目前投资布局相对较少。
这些明星的资本版图虽然不断扩张,但发展过程中也遭遇了不少困境:黄晓明卷入“股权操纵案”;赵薇逾越法律红线,受到证监会处罚;吴秀波控股的不二文化因《军师联盟》陷入法律纠纷;吴奇隆、杨幂各自的公司在估值暴涨之后遭遇资本寒冬,泡沫不断被稀释;赵丽颖的投资布局更是坎坷不断。如今这些明星又或将面临巨额补税,更是雪上加霜。
“触红派”:黄晓明、赵薇、吴秀波
高调冒进、布局多、领域广
明星曾凭借流量号召力成为资本市场的宠儿,有明星入股的公司便会得到股民的跟风入股。在这样的发展环境下,不少明星都与资本市场有了更为紧密的绑定关系。但是,资本运作并非易事,若明星稍有不慎,也会触及法律红线。在这份港媒曝光的“补税”名单中,黄晓明、赵薇都曾被证监会关注,甚至处罚,吴秀波也因投资问题一时陷入法律纠纷。
1、黄晓明51家公司布局多领域,与Angelababy年收入合计3亿+
今年8月,黄晓明被卷入“股价操纵案”,证监会向涉案人员开出了18亿的天价罚单,当时公布名单中的“黄某明”疑似演员黄晓明。后来,虽然证监会澄清黄晓明并未被列入违法行为当事人,但黄晓明的资本布局还是被一一揭开。
天眼查数据显示,黄晓明控股或参投的公司多达51家。从行业分布来看,黄晓明的投资遍布各个领域,除去影视行业,黄晓明也涉足了股市、创投圈和币圈等。

2008年,黄晓明初涉资本市场。当时,黄晓明以每股3元的价格认购180万股华谊兄弟的原始股,据业内人士称,黄晓明这笔钱来自借款,经多次配股,黄晓明在华谊兄弟的持股超600万股。即便目前华谊兄弟股价跌至5.06元/股,黄晓明所持的股份仍价值3036万元。此外,黄晓明还参投了乐视影业和阿里影业,并在上市公司文投控股中持股250万股,目前市值也在1400万左右。
2014年,黄晓明、李冰冰、任泉共同出资组建了明星风投机构Star VC,该机构的第一个投资项目便是电商韩都衣舍。当时,黄晓明等人对韩都衣舍的投资金额为1300万元,但在2015年9月其最后一轮估值时,韩都衣舍已价值近25亿元。去年12月,韩都衣舍公告称已进入IPO上市辅导阶段。

2015年,黄晓明与资深投资人张晓婷一同成立了北京明嘉投资管理有限公司,黄晓明持股80%,这也是黄晓明最重要的一次投资布局。明嘉资本曾投资了多家明星创业公司,包括高端美甲Innail、芭比辣妈、互联网婚纱摄影寻拍、手工糖果Candy Master、Lan红酒、坚果智能家庭影院、极限运动品牌蓝色极限、民谣现场直播野马现场、互联网汽车金融第一车贷、风靡一时的火辣健身、高端网吧网鱼网咖、号称2个小时内创下2亿800万人民币销售额战绩的红糖姜汁“寿全斋”和3亿卖身的“同道大叔”等。
《2017中国名人收入排行榜》数据显示,黄晓明在2017年收1.679亿元,他的妻子Angelababy收入1.468亿元,两人合计收入3.147亿元,成为当前娱乐圈明星夫妻档中吸金能力最强的一对。

不过相比之下,Angelababy的事业核心仍在影视方面,尤其是在参加《奔跑吧》之后,影视资源不断,在拍摄《孤芳不自赏》时便被曝料称片酬高达8000万。Angelababy进入资本市场的时间较晚,或许是受了黄晓明的影响,她的投资版图亦在影视行业之外。
2015年,Angelababy成立创投公司AB Capital。当时,AB Capital试水投资的两个品牌都侧重关注新女性生活方式,一个是主打跨境电商的洋码头,另外一个则是推崇断食概念的冷压果蔬汁HeyJuice。之后,境外短租品牌住百家,宣布完成总额近2亿元人民币的B轮融资,其中也有Angelababy的ABCaptial参投。但整体来看,Angelababy的投资动作并不多。

2、赵薇名下18家公司,先后入股唐德影视、阿里影业
在此之前,赵薇的资本版图已悄然展开。天眼查数据显示,目前赵薇参投或控股的公司共计18家。

2011年,赵薇参与了唐德影视的增资扩股,以6折77.64万元认购了117万股,每股仅为2.3元。即便如今唐德影视股价跌至7.85元/股,赵薇所拥有唐德影视的账面资产仍将近1000万元。
后来,赵薇夫妇以30亿港元入股阿里影业,持股占比9.18%,成为阿里影业第二大股东。到了2015年,赵薇夫妇分别在4月和10月两度坚持阿里影业的股份,套现至少17.88亿港元,合计约15.21亿人民币。之后,赵薇便有了“中国女版巴菲特”的名号。

除了影视行业,赵薇夫妇同时经营的业务还涉及酒业贸易、房地产、4S店等多个领域,资产总价值约56.63亿元(截至2016年11月30日)。在多次成功投资之后,赵薇夫妇便开始布更大的局,也就是收购万家文化,最终被证监会叫停,并处以5年市场禁入的处罚。
3、吴秀波:成立不二文化,持股幸福蓝海、当代东方
吴秀波在娱乐圈中属“大器晚成”,创立影视公司的时间也相对较晚。
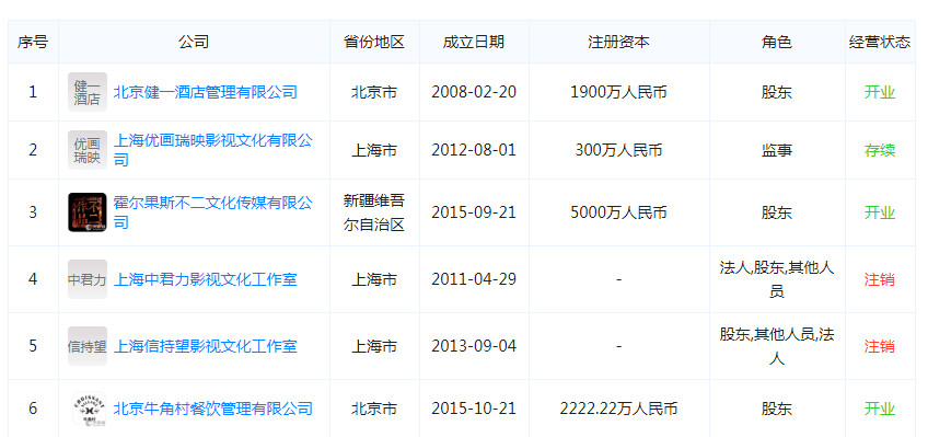
2015年9月,吴秀波出资5000万成立霍尔果斯不二文化传媒有限公司,持股100%。“不二”取自该公司出品的电影《北京遇上西雅图之不二情书》,该片上映后,票房达到7.9亿元,不二文化便是最大的收益方。
之后,不二文化还投资了吴秀波主演的网剧《军师联盟》。不过,该剧近10亿的投资收益后来陷“罗生门”,不二文化坚持自己应持有《军师联盟》95%的收益权,而原告江苏利华则认为50%的收益权应归其所有,双方未能达成共识。此外,不二文化参投的《巴清传》身陷“水逆”,从改名风波,到男主被曝性侵,李晨临时补救,再到范冰冰偷漏税,多重压力之下,剧集似乎也播出无望。

除了“自立门户”,胡秀波还在多家影视公司中持股,其中不乏当代东方、幸福蓝海等上市公司。天眼查数据显示,吴秀波控股或参投的公司共计12家。

2011年,吴秀波以9.67元每股价格认购入股幸福蓝海,认购466万股。当时,吴秀波需支付的4500多万元的认购款中,除1500多万为其自有资金,其余3000万为借款,提供贷款方为南京业图商贸有限公司。
2013年8月,吴秀波还认缴40万,入股上海喜天影视文化股份有限公司。喜天影视即为吴秀波所属经纪公司。此外该公司旗下艺人还有张歆艺、蒋劲夫、张天爱、王千源、林永健等。2016年3月,喜天影视获得了华策影视、光线传媒共计8000万的战略融资。

2015年,在当代东方发布的《2014年非公开发行股票之发行情况报告书暨上市公告书》中吴秀波亦名列其中。据了解,吴秀波以10.8元每股的价格,斥资1500万认购138万股。
不过目前来看,在上市公司集体遇冷的大环境下,吴秀波所持股份也有不同程度的缩水。其中,吴秀波在幸福蓝海所持股份目前市值为4100万元,缩水8.8%。而当代东方的股价目前也已跌至5.36元/股,吴秀波所持股份缩水50.4%。
除了影视行业,吴秀波的投资还涉及餐饮服务业。2008年,北京健一酒店管理有限公司成立,注册资本高达1900万。其中,吴秀波认缴114万,持股6%。2017年3月,吴秀波在北京牛角村餐饮管理有限公司认缴120万,成为持股5.4%的股东。
“高估派”:杨幂、吴奇隆
巧用资本手段做高公司估值后遭下调
明星经过前期的人气累积,在发展到一定程度之后,往往选择自己脱离原本的经纪公司,自己开设公司,通过参投影视作品、艺人经纪等多元变现,以实现利益最大化。在港媒曝出的这份“补税”名单中,大多数明星都是如此,其中杨幂、吴奇隆等都经历了公司估值暴涨及下调。
1、杨幂离开欢瑞错失800万,但嘉行传媒估值2年翻200倍
说到杨幂的投资版图,就不得不提她持股的嘉行传媒。
2015年,杨幂以10.86元/股的平均价格将手中持有欢瑞世纪的50万股份转出,随后,欢瑞世纪上市,杨幂因此错失800多万。正当众人为此感到可惜之时,杨幂个人的资本运作已经布好了一个大局。

早在2014年,杨幂便与经纪人曾嘉、李若尧成立西藏嘉行,后来找到资本圈的李娟担任投资总监,四人构成了嘉行传媒的核心;2015年,杨幂四人的西藏嘉行借壳“西安大同”挂牌新三板,当时估值2500万;2015年12月,尚世影业斥资3亿元入股西安大同,持股20%,公司估值达15亿;2016年6月,“西安大同”更名为“嘉行传媒”;2017年3月,完美世界拟以5亿元购得嘉行传媒10%的股份,此时公司估值已飙升至50亿,两年时间翻了200倍。
期间,嘉行传媒投资的影视作品《三生三世十里桃花》《亲爱的翻译官》等不仅巩固着杨幂收视女王的地位,也带火旗下艺人迪丽热巴等,成为嘉行传媒估值不断走高的筹码。
然而,好景不长。《三生三世》之后,缺少新现象级作品支撑的嘉行传媒估值开始下调。11月6日,作为股东之一的尚世影业以3.8475亿元转让了嘉行传媒9.5%的股权,嘉行传媒估值降至40.5亿元,下调近10亿。
除了嘉行传媒,天眼查数据显示,目前与杨幂直接或间接相关的公司共计9家,并在5家公司中担任法人。《2017中国名人收入排行榜》数据显示,杨幂在2017年收入1.248亿元。由此可见,尽管其参投的嘉行传媒估值缩水,但其吸金能力仍然不俗。

2、吴奇隆“10亿彩礼”落空,暴风入局未果,阿里影业全数退出
吴奇隆在涉足影视行业之前,曾投资过餐饮、服饰等行业,但成效不大。后来,吴奇隆进入影视圈,其投资版图也扩大至影视、游戏、智能硬件、房地产等多个领域。
在影视方面,吴奇隆最主要的投资布局是成立稻草熊影视。而在2015年12月,刘诗诗以200万元的成本受让成为稻草熊的第二大股东,持股12%。稻草熊影视成立之后,先后投资制作了《记得我爱你》、《新白发魔女传》、《犀利仁师》等多部作品,其中,《新白发魔女传》在当时实现8400万的收入。或许正得益于此,稻草熊影视开始受到资本青睐。

之后,便是闹得沸沸扬扬的“10亿彩礼”事件。2016年3月,暴风科技欲以10.8亿元购买稻草熊影业60%股权,稻草熊的估值一度达到18亿。但后来,此次交易被证监会否决。同年12月,阿里影业以2.25亿元拿到稻草熊15%的股权,公司估值下调至15亿。但之后,稻草熊影视一直未有强竞争力的作品孵化,今年8月,阿里影业也已全数退出。
在游戏方面,2014年7月,稻草熊影视、稻草熊游戏与蓝港互动一起开发游戏《白发魔女传》。此外,吴奇隆还曾在日本开办了一家房地产中介公司,并在2012创办黑白能量品牌,产品涉及公益、慈善、时尚服饰、饰品、食品及生活用品等。
不过,在明星资本集体遇冷的大环境下,吴奇隆相关公司也开始躲避寒冬。目前,刘诗诗任法人代表的北京稻草熊科技有限公司更名为北京奇视邦科技有限公司,刘诗诗卸任了包括法人代表、执行董事和经理等所有公司职位。
3、赵丽颖:投资稻草熊、海润影业、暴风科技等坎坷不断
目前,赵丽颖名下并没有被过高估值的公司,但是,赵丽颖与吴奇隆、刘诗诗的稻草熊影业关系密切。
2015年12月22日,稻草熊影业进行了股权变更,赵丽颖获得刘小枫(吴奇隆受限于台湾人的身份,其在大陆的公司法人多为刘小枫)转让的稻草熊影业1%的股权,成为江苏稻草熊影业股东。
此外,赵丽颖还在江苏蓝色沸点影视文化公司中持股49%,并担任法人。而该公司的大股东正是为吴奇隆、刘诗诗的稻草熊影业,持股占比51%。后来,蓝色沸点参与投资了由赵丽颖出演的《楚乔传》,这意味着赵丽颖在获取片酬之外,也将拿到额外分成收益。据了解,《楚乔传》投资额在2亿上下,而首轮卫视+网络端的版权价格达到5.86亿,收益颇丰。

赵丽颖的投资布局远不止此,2015年,海润影业暨临润投资与赵丽颖合作,以1元/注册资本的价格将90万元出资转让给赵丽颖;同年,赵丽颖以141.87万股成为海润影视第14大股东。按目前海润影业6.97亿的市值计算,赵丽颖所持股份市价超1200万。
2016年,赵丽颖成为暴风科技的股东之一,当时,她持有的股份价值在1080万。而在北京秀丽江山影视、上海合颖影视和南京新绎影视3家公司/工作室。同年,赵丽颖不仅成为了一下科技公司的副总裁,还正式入职爱奇艺,与陈伟霆共同担任爱奇艺首席会员推荐官。
尽管赵丽颖的投资版图不断扩大,但相关的几家公司情况都不乐观,海润影业多次谋求A股上市未果,连续四年陷于亏损;稻草熊影业也波折不断;暴风科技也在两天前的三季报中发布了业绩预亏2亿的消息。
然而,即便赵丽颖的投资之路坎坷不断,但她的个人收入依然不菲。2017年福布斯中国名人榜显示,赵丽颖年收入达到1.9亿,位于榜单第8位。与2016年的3200万相比上涨493%,翻了近5倍。这主要还赖于赵丽颖在广告代言和影视片酬等收入。

“稳健派”:邓超孙俪、徐峥、黄渤
稳扎稳打、步步为营
在明星资本化的道路上,虽然有不少明星走得不畅,但也涌现出不少优秀的投资者。在港媒曝光的这份“补税”名单中,邓超孙俪、徐峥、黄渤等都在投资的道路上稳步前进。
1、邓超孙俪“强强联合”,参投13家公司,年收入1.87亿
邓超和孙俪在娱乐圈明星夫妻档中可谓“强强联合”。《2017中国名人收入排行榜》数据显示,邓超在2017年收入9850万元,孙俪收入8900万元,两人合计收入1.875亿。从目前的发展来看,邓超和孙俪虽在影视剧中多有合作,但两人的投资版图并无太多交集。
先来看邓超方面。天眼查数据显示,邓超目前控股或参投的公司共有7家,包括慧形慧影、橙子映像、艺鼎文化等。

2012年,邓超离开华谊之后,开始正式自立门户,并在2013年注册了天津橙子映像传媒有限公司,担任董事长一职。当时,橙子映像的注册资金为300万,邓超控股的慧形慧影出资占比30.34%,为大股东,光线传媒出资占比24.62%,为第二大股东,其余参投者还有邓超的好友俞白眉等。
之后,橙子映像参投了多部邓超主演或导演的电影作品,包括由韩寒执导的《乘风破浪》(票房10.46亿),张一白执导的《从你的全世界路过》(票房8.13亿),以及《分手大师》(6.65亿)、《恶棍天使》(6.48亿)等。这些电影大多有着不错的票房表现,邓超的资本之路也走得比较顺畅。去年大爆的《战狼2》中,橙子映像也是主要的出品方之一。随着橙子映像的发展,其吸金能力也越来越强。2016年,与邓超曾有代言合作的苏宁成立了苏宁投资集团,随后向邓超的橙子映像注资1亿元。
除了橙子映像外,邓超还在 2016 年以78万元投资北京艺鼎文化传播有限公司。同年,邓超与俞白眉、王琦、陈畅等在北京创建话剧院 " 超剧场 ",主办公司正是艺鼎文化。
此外,邓超在2014年还与360公司董事长周鸿祎、真格天使投资基金徐小平、俞白眉四人组团携手 80 家投资机构,共同启动了蒲公英创业计划,将投资版图扩大至互联网行业。
与邓超相比,孙俪的投资之路相对坎坷。天眼查数据显示,孙俪目前控股或参投的公司共6家。其中,海润影视是孙俪资本布局的一个关键。

孙俪在海润影视中持股2.37%,但海润影视已多次无缘A股。此前,“借壳”申科股份时,曾作价25.22亿,孙俪所持股份价值猛增至2亿。然而最终收购失败,孙俪“一夜暴富”瞬间成过眼云烟。
不过,孙俪的演艺事业在《甄嬛传》之后一路高走,片酬不断上涨。新丽传媒的招股书中显示,孙俪在《辣妈正传》和《那年花开月正圆》中的片酬分别为2963万和6048万,再加上《芈月传》《甄嬛传》两部作品,预计4部作品合计片酬在2亿上下。
2、徐峥:打造“囧系列”,成立真乐道,入股欢喜传媒
徐峥的演员之路与投资之路几乎并行。早在其出演《春光灿烂猪八戒》中的“猪八戒”一角,投资也已开始。当时,《春光灿烂猪八戒》筹资陷入困境,徐峥将自己参演话剧的全部积蓄投入到电视剧中。最终,该剧创造收视神话,徐峥收获了比片酬高出一倍的分红。
2012年,徐峥执导的《泰囧》大卖12.7亿,投资方光线传媒收益4.9亿,而执导并参演的徐峥获利仅1000万左右。不过,光线老板王长田给了徐峥10%的利润分成,也就是4000万左右。从此,徐峥参与投资的念头更加强烈。

到了《港囧》时,徐峥的资本运作已相当熟练。首先,徐峥通过知识产权及个人服务(剧本写作、导演及演出工作),以非现金形式投资《港囧》,并获得47.5%的票房净收入收益权。
值得注意的是,在2015年5月,也就是《港囧》上映之前,阿里影业前主席董平与徐峥、宁浩一起低价入主香港上市壳公司21控股,并更名为欢喜传媒。当时,董平持股24%,为第一大股东,徐峥、宁浩分别持股19%,并列第二大股东。交易完成之后,徐峥把票房净收入(扣除发行成本)的47.5%收益权卖给21控股,提前获利1.5亿元。除了院线上映,徐峥的真乐道公司还享有《港囧》的网络版权收益。21控股也因为影片提振,股价大涨。
而在今年,徐峥的真乐道文化接连押中多部爆款影片。其中,制作+宣发成本约4500万的《超时空同居》斩获8.8亿票房,投资回报比将近2000%;投资仅6000万的《我不是药神》票房更是高达30.99亿,投资回报比为5165%。
3、黄渤:主控《一出好戏》,名下18家公司
黄渤的公司黄渤工作室此前在《泰囧》的出品方中也有挂名,但投资比例不大,并未获得太多分成。
不过,今年暑期档,黄渤的导演处女座《一出好戏》上映,斩获13.54亿票房。而这部影片的主出品方瀚纳影视便是由黄渤控股。从瀚纳影视的股东信息来看,除了自然人黄渤直接持股6%外,大股东宁波梅山保税港区铂砳投资有限公司也是黄渤持股90%的控股公司。

值得注意的是,上海瀚纳影视文化传媒有限公司,注册地点位于上海市松江区富永路。这里与之前的霍尔果斯一样,有税收优惠政策,包括60%营业税的财政扶持,20%企业所得税的优惠以及免收园区管理费。除了黄渤,还聚集着范冰冰、胡歌、赵丽颖、陈晓、李易峰、杨洋、郑爽、唐嫣等诸多一线明星的工作室。
黄渤的投资版图远不止此。天眼查数据显示,目前黄渤参投或控股的公司共计18家。

其中,西安春天融和成立于2010年9月,是一家影视公司,已投资、制作、发行包括《请你原谅我》《北平无战事》《厨子、戏子、痞子》《黄金时代》等大量影视作品。2015年12月,上市公司共达电声欲以18亿的价格收购西安春天融和100%的股权,后因政策原因仅完成收购65.41%。然而,到了2017年,春天融合因长期欠款不还被列入失信名单。
此外,2015年10月13日,黄渤和章子怡加入由任泉、李冰冰和黄晓明共同出资组建的明星风险投资机构Star VC,成为其新的合伙人。
“低调派”:霍建华、周迅
入行不深、野心不大、布局不多
明星虽有光环加身,但业内也不乏低调者。港媒此次曝光的“补税”名单中,霍建华和周迅两人的资本布局可谓低调。
1、霍建华:片酬为主要收入来源,名下公司目前仅投1部作品
霍建华的投资布局相对低调,目前的主要收入来源还是片酬。2013年前后,霍建华拍摄《笑傲江湖》等5部电视剧,共计收入约4145万元。但随着霍建华受关注度越来越高,其片酬也迅速上涨。新丽传媒招股书显示,霍建华在《如懿传》中的片酬收入为5071万元。

2006年5月,霍建华与之前经纪人胡冠珍的合约到期后,开始自立门户,与新经纪人连俊杰联名开了“华杰工作室”,由连俊杰担任总经理一职。不过,霍建华的资本布局进展相对缓慢,直到2013年,华杰工作室才制作了首部也是目前唯一一部电视剧《金玉良缘》。
除此之外,霍建华还与连俊杰一起注册了另外两家公司,一个是上海霍连文化发展有限公司,一个是北京建俊文化传媒有限公司,均取自两人的名字。不过,目前这两家公司还没新的动作。

2、周迅:与陈坤合开东申未来,参投的宇佑传媒上市未果
周迅与霍建华一样,在《如懿传》中担当主演。新丽传媒招股书显示,周迅在《如懿传》中的片酬收入为5350万元。同样相似的是,周迅的投资布局亦相对低调。
天眼查数据显示,目前周迅名下仅有2家公司,分别为周迅的工作室和希云森林商贸。值得注意的是,希云森林商贸的法人为周天与,也就是周迅的父亲。
而在周天与名下,目前存续的公司共7家,其中有3家含有“迅”字。此外,还有一家陈坤的控股公司——东申未来。

东申未来是一家经纪公司,周迅和陈坤曾在2017年通过微博宣布联合创办,目前旗下艺人有倪大红、海一天等业内老戏骨,也有主演《河神》的王紫璇等新兴实力派。
此外,周迅还曾在2015年通过工作室出资500万入股汉鼎宇佑传媒集团有限公司,成为其第三大股东。宇佑传媒是A股上市公司汉鼎宇佑的关联公司,曾参投电影《华丽上班族》《一路惊喜》《曼哈顿中国女孩》《喜欢你》等,电视剧《天生要完美》《锦绣人生》等,还为张学友、刘德华、五月天、王力宏、陈奕迅、蔡依林、刘若英、梁静茹等众多一线明星举办过上百场演唱会。

除了周迅,演员黄磊、主持人何炅、导演陈可辛等均在宇佑传媒的股东行列,不过受制于明星资本趋冷的大环境,汉鼎宇佑曾试图收购宇佑传媒的方案被迫终止,但周迅投资扩张的坎坷之路并未结束。2016年3月,周迅通过基金公司中银粤财参与了乐视体育的B轮融资,后来也随着乐视系的危机到来石沉大海。
总的来看,在明星资本整体趋冷的大环境下,这些艺人的资本版图也都受到不同程度的影响,但他们的收入也都在千万至上亿级别。如果“补税”消息落实,所涉及的明星需要补缴的税款必然不是个小数目,这对在资本市场屡陷困境的艺人而言,无疑是雪上加霜。
评论区(0)