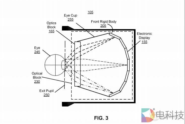
沉浸式头显可以包括光学模块,其包括一个或多个位于电子显示器和用户眼睛之间的光学元件。光学模块可以在用户眼睛和电子显示器之间提供可调节的焦
沉浸式头显可以包括光学模块,其包括一个或多个位于电子显示器和用户眼睛之间的光学元件。光学模块可以在用户眼睛和电子显示器之间提供可调节的焦距。
当采用平板电子显示器时,光学模块可以弯折来自显示器笔直图像平面的光线。这可能会导致图像失真,特别是电子显示器的外围区域。
针对这个问题,Facebook在日前发布的一份授权专利中提出了一种基于柔性基板的准球形显示器。

名为“Spherical Display Using Flexible Substrates(采用柔性基板的球形显示器)”专利主要描述了一种OLED显示器。OLED显示器包括OLED面板,所述OLED面板具有一系列形成准球面显示表面的Gore形面板部分。
每个Gore形面板部分包括中间部分,第一端部和第二端部。相邻Gore形面板部分的中间部分由曲面区域分开。OLED面板沿第一曲面区域弯曲,并且每个Gore形面板部分弯曲,从而连接相邻Gore形面板的第一端部和第二端部。两个OLED显示器可以安装头显中。
所谓的Gore是指位于球体两条经度线之间的曲面区域或曲面,它能够平坦化为具有很小失真的平面,如下图所示:

通过Gore形面板形成的OLED面板可以帮助解决光学模块弯折显示器笔直图像平面的光线的问题,从而避免图像失真。

名为“Spherical Display Using Flexible Substrates(采用柔性基板的球形显示器)”的授权专利最初于2017年2月提交,并在日前由美国专利商标局公布。需要注意的是,这只是一份专利。
评论区(0)