近期美国专利及商标局公布了一共34项全新的AR/VR专利。 1. 《Oculus Patent | Method For Performing Segmentation In An Ordered Sequence Of D
近期美国专利及商标局公布了一共34项全新的AR/VR专利。
1. 《Oculus Patent | Method For Performing Segmentation In An Ordered Sequence Of Digital Data(Oculus专利:在有序数字数据序列中执行分段的方法)》

专利描述了一种用于在有序数据序列中进行分段的方法,包括排列有序输入数据的顺序流,其中数据以矩阵(帧)排列;并且传输排序后的输出数据顺序流,其中排序的输出数据排列在有序矩阵中。
2. 《Magic Leap Patent | Integrating Point Source For Texture Projecting Bulb(Magic Leap专利:为纹理投射灯泡集成点源)》

纹理投射灯泡包括位于积分器中的扩展光源。积分器包括至少一个孔,其配置成允许光线从积分器的内部传输出去。在各种实施例中,积分器的内部可以是漫反射表面,并且积分器可以配置为通过孔洞产生均匀的光分布。积分器可以被灯泡外壳包围。在各种实施例中,灯泡外壳可包括透明和不透明区域,其配置成投射可见光和/或红外光的结构化图案。
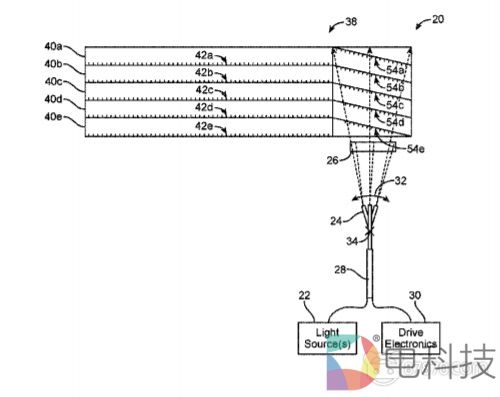
3. 《Magic Leap Patent | Virtual/Augmented Reality System Having Reverse Angle Diffraction Grating(Magic Leap专利:具有反角衍射光栅的虚拟现实/增强现实系统)》

专利描述了一种用于虚像生成系统的显示子系统,其包括平面波导组件,光纤,至少一个光源,以及机械驱动组件。显示子系统同时包括光调制组件和光波导输入组件,光调制组件配置为将来自光纤的光线会聚到纵轴,光波导输入组件配置为将来自光调制组件的光线导向平面波导组件,使得平面波导组件向终端用户显示一个或多个图像帧。
4. 《Facebook Patent | Lenses With Consistent Distortion Profile(Facebook专利:具有一致畸变轮廓的透镜)》

专利描述了一种头显装置,其包括显示器和透镜。透镜提供独立于用户眼睛旋转位置的一致畸变。 透镜包括具有第一透镜表面和第二透镜表面的光学透明基板。透镜配置为在第一时间将来自显示器第一位置的光聚焦在第一旋转位置的眼睛瞳孔,并在第二时间将来自显示器第二位置的光线聚焦在第二旋转位置的眼睛瞳孔。
5. 《Facebook Patent | Eyeglass Prescription Correction For Optics Blocks In Head-Mounted Displays(Facebook专利:头显光学模块的眼镜参数校正)》

专利描述了方法主要用于根据用户的眼镜参数修改头显透镜的焦距。所述方法包括接收表示通过头显浏览内容的用户的标识符。所述方法同时包括获得与标识符相对应的眼镜参数数据,其包括用于校正用户眼睛缺陷的数据。然后,通过修改诸如透镜焦距之类的光学特性来应用数据,从而向用户提供校正的视图,并且无需用户佩戴医学眼镜或隐形眼镜。
6. 《Facebook Patent | Devices And Methods For Removing Zeroth Order Leakage In Beam Steering Devices(Facebook专利:用于在波束控制组件消除零阶泄漏的组件和方法)》

光束控制组件包括第一主动偏转器。第一主动偏转器包括具有一个或多个电极的第一基板,具有一个或多个电极的第二基板,以及位于第一基板和第二基板之间的液晶。第二基板不同于第一基板。 光束控制组件同时包括与第一主动偏转器平行定位的被动偏转器。被动偏转器包括第三基板,与第三基板不同的第四基板,以及位于第三基板和第四基板之间的液晶。专利同时描述了一种利用光束转向组件分离零阶泄漏的方法。
7. 《Facebook Patent | Adjustable Strap Assembly For A Head-Mounted Display(Facebook专利:用于头显的可调节系带组件)》

专利描述的系带组件可包括轴系带,所述轴系带连接到头显,所述轴系带构造成以将头显保持在用户面部。轴系带可包括左轴部分和右轴部分。系带组件同时可以包括可调节的附接机制。
8. 《Facebook Patent | Selective Color Sensing For Motion Tracking(Facebook专利:用于运动追踪的可选颜色感应)》

电子设备配置为选择第一组一个或多个不同波长,并用于追踪与电子设备通信的第一便携式设备。在选择用于追踪第一便携式设备的第一组一个或多个不同波长之后,启动第一便携式设备并发射第一组一个或多个所选波长的光线。对于第一组一个或多个所选波长,接收一个或多个相应光强度的信息;基于识别的相应光强度信息,针对第一组一个或多个所选波长,确定第一便携式设备的位置。
9. 《Facebook Patent | Configuring A Virtual Store Based On Information Associated With A User By An Online System(Facebook专利:在线系统根据与用户关联的信息配置虚拟存储)》

在线系统生成虚拟世界,其包括对象,用户的表示和用于呈现影像的位置。虚拟世界包括虚拟商店,虚拟商店包括用于呈现给用户的多个对象。为生成虚拟商店,在线系统检索与用户相关联的信息,并根据检索到的信息选择包括在虚拟商店中的对象。
10. 《Facebook Patent | Display Latency Calibration For Organic Light Emitting Diode (Oled) Display(Facebook专利:OLED显示器的显示延迟校准)》

专利描述了一种用于校准OLED显示器的系统。校准系统包括耦合到OLED显示器的至少一部分照明元件的一系列光电二极管,控制组件和驱动器电路。所述光电二极管配置为针对一个或多个照明元件测量与不同亮度水平相关联的照明等待时间和时间延迟。对于每个照明元件,控制组件获得关于与从所述照明元件发射的图像光相关联的亮度水平信息。根据测量的等待时间,时间延迟和关于亮度水平的信息,控制组件确定用于每个照明元件的驱动信号。驱动电路将确定的驱动信号施加到所述照明元件并校准OLED显示器。
11. 《Facebook Patent | Full Frame Uniformity Across Panels(Facebook专利:显示面板的全帧均匀性)》

专利描述了一种提供显示均匀性的方法,其包括:检索表显示面板的显示特性的第一校准数据,第一校准数据表示向左右显示面板区域提供相同输入图像数据时的亮度响应或颜色响应;接收包括要提供给左右显示面板区域的左右图像数据的立体图像数据;当第一校准数据表明亮度之间存在差异时,根据第一校准数据修改接收的立体图像数据,并在左面板区域和右面板区域中显示具有基本相同的亮度响应或基本相同的颜色响应的立体图像。
12. 《Facebook Patent | Head-Related Transfer Function (Hrtf) Personalization Based On Captured Images Of User(Facebook专利:基于用户捕获图像的头相关传递函数个性化)》

虚拟现实系统模拟用户感知的声音。根据用户的个性化头相关传递函数生成模拟声音,其中个性化头相关传递函数是通过将机器学习模型应用于识别的一组解剖特征而构建。可以从由摄像头捕获的用户图像识别所述解剖特征。
13. 《Microsoft Patent | Identification Of Augmented Reality Image Display Position(微软专利:增强现实图像显示位置的识别)》

头显设备可以包括至少部分透视的显示器,一个或多个位置传感器,通信单元和处理器。头显设备可以至少确定一个或多个位置传感器在物理环境中的位置。通信单元可以从物理环境中的至少一个对等头显设备中接收位置数据。头显设备的处理器可以确定头显设备的视场,识别头显设备和至少一个对等头显设备在物理环境中显示增强现实图像的显示位置。
14. 《Microsoft Patent | Augmented Reality System Eye Relief Adjustment Mechanism(微软专利:增强现实系统适眼距调整机制)》

专利描述了一种适眼距调整机制。头显可包括可调节系带,头带周长调节机制,以及适眼距调节机制。适眼距调节机制配置为沿着基本线性的路径移动左系臂和右系臂,从而调节显示器到用户适眼距。
15. 《Microsoft Patent | Gaze-Based Object Placement Within A Virtual Reality Environment(微软专利:虚拟现实环境中基于注视点的对象放置)》

专利描述的头显设备配有传感器封装,所述传感器封装使得系统能够确定用户注视点与虚拟现实环境中位置的交叉点,然后系统可以精确地将虚拟对象放置在虚拟现实环境中。可以使用来自传感器封装的数据来确定用户的视图位置,从而实现物理环境的表面重建。
16. 《Microsoft Patent | Adjusting Image Frames Based On Tracking Motion Of Eyes(微软专利:基于眼动追踪调整图像帧)》

在一些示例中,用于操作可穿戴设备的技术和架构(如头戴式设备)可以用于虚拟现实应用。可以动态追踪用户眼睛角膜并确定注视点方向,然后相应地操作设备处理器。通过追踪注视点方向,可以计算投影到视网膜的显示图像的视网膜速度。可以根据视网膜速度来修改图像帧的显示时间。
17. 《Microsoft Patent | Image Demosaicing For Hybrid Optical Sensor Arrays(微软专利:混合光学传感器阵列的图像去马赛克)》

混合光学传感器阵列包括具有不同光谱灵敏度的第一像素组和第二像素组。第一像素组以第一分辨率捕获场景的第一数据组,第二像素组以第二分辨率捕获场景的第二数据组。根据第二数据组对第一数据组进行去马赛克。以第三分辨率输出场景的第三数据组,第三分辨率大于第一分辨率。这可以产生高分辨率的匹配图像,同时没有多摄像头机器视觉系统中固有的透视或定时差。
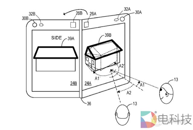
18. 《Microsoft Patent | Manipulating Virtual Objects On Hinged Multi-Screen Device(微软专利:操作合页式多屏设备的虚拟对象)》

专利描述了一种合页式多屏计算设备,其包括壳体,壳体具有通过合页连接的第一部分和第二部分,每个部分包括显示器;安装在壳体中并配置成检测第一部分和第二部分之间铰接角的传感器,以及处理器。处理器配置为在第一显示器渲染和显示虚拟对象的三维表示,其中虚拟对象的三维视图渲染基于检测到的铰接角。
19. 《Apple Patent | Devices, Methods, And Graphical User Interfaces For System-Wide Behavior For 3d Models(苹果专利:用于3D模型系统行为的设备,方法和图形用户界面)》

专利描述的计算机系统具有显示生成组件,一个或多个输入设备,以及一个或多个摄像头。计算机熊接收在第一用户界面区域中显示虚拟对象的请求,所述第一用户界面区域包括一个或多个摄像头的视场。响应于所述请求,如果确定不满足对象放置的标准,虚拟对象的表示以第一组视觉属性和第一方向显示;如果确定满足对象放置的标准,虚拟对象的表示以具有第二组视觉特性和第二方向显示,第二组视觉特性不同于第一组视觉特性。
20. 《Google Patent | Method For Fabricating A Curved Eyepiece(谷歌专利:制作曲面目镜的方法)》

专利描述了将透镜毛坯制造成目镜的技术和机制。在一个实施例中,坯体通过注射成型形成并彼此粘附。目镜的制造包括对坯体进行各种加工并对透镜进行成形。
21. 《Google Patent | Touchscreen Hover Detection In An Augmented And/Or Virtual Reality Environment(谷歌专利:增强现实和/或虚拟现实环境中的触摸屏悬停检测)》

专利描述了一种用于在手持电子设备上检测和追踪手指悬停位置的系统。所述系统可以包括在叠加在用户界面中的单色键控屏幕或绿幕。可以根据绿幕上的手指的检测和键盘的已知布置来确定手指相对于键盘的位置。可以在头显中渲染和显示键盘的图像和手指的位置,以便用户通过键盘与由头显产生的虚拟沉浸式体验进行交互。
22. 《Google Patent | Teleportation In An Augmented And/Or Virtual Reality Environment(谷歌专利:增强现实和/或虚拟现实环境中的传送)》

专利描述了在虚拟现实环境中进行远程传送和缩放的系统。其中,用户可以从第一虚拟位置传送到第二虚拟位置。用户可以通过手持式电子设备选择新的第二虚拟位置和新的第二比例,使得在释放电子设备的触发动作时,用户可以传送到新选择的第二虚拟位置,并以第二比例进行体验。
23. 《Google Patent | Map Summarization And Localization(谷歌专利:映射概括与定位)》

当估计电子设备的当前姿态时,电子设备根据表示具对象具有高效用的数据来生成场景的概要映射,并且相对于概要映射定位估计的当前姿势。电子设备根据随时间以一致配置出现的对象组来识别场景,并识别出现在场景中的对象的效用加权。根据效用加权高于阈值的对象数据,电子设备生成每个场景的概要映射。
24. 《Google Patent | Generating Virtual Notation Surfaces With Gestures In An Augmented And/Or Virtual Reality Environment(谷歌专利:在增强现实和/或虚拟现实环境中使用手势生成虚拟注释表面)》

在增强现实和/或虚拟现实系统中,虚拟注释表面可以根据检测到的手势而具体化。用户可以注释,调整,存储,查看和修改虚拟注释表面,并且允许用户在当前虚拟环境中与其他用户协作。
25. 《Google Patent | Annotations Of Objects In Multi-Dimensional Virtual Environments(谷歌专利:多维虚拟环境中对象的注释)》

专利描述的方法可允许第一客户端和第二客户端能够参与至多维虚拟环境中的通信会话。所述方法包括从第一客户端接收与多个对象中的第一对象相关联的第一注释;将第一注释发送到第二客户端并在第二客户端进行相应的显示;从第二客户端接收与多个对象中的第二对象相关联的第二注释;将第二注释发送到第一客户端并在第一客户端进行相应的显示。
26. 《Google Patent | Spatial Random Access Enabled Video System With A Three-Dimensional Viewing Volume(谷歌专利:具有3D浏览体积的空间随机访问视频系统)》

可以从视点显示环境。在一个实施例中,可以获取描绘环境体三维的视频数据。多个视点位置可以分布在整个浏览体三维中。体三维视频数据可以用于为每个视点位置生成视频数据。可以接收指定视点的用户输入。从多个视点中识别最接近的视点子集。可以检索并组合来自视点子集的视频数据,并生成描绘环境的视点视频数据。可以为用户显示视点视频数据,并以用户选择的视点显示环境视图。
27. 《Valve Patent | Positional Tracking Systems And Methods(Valve专利:定位追踪系统和方法)》

专利描述了应用于虚拟现实/增强现实的光学定位追踪系统。示例性系统包括一个或多个接收器和一个或多个发射器。示例性发射器包含两个正交转子,每个转子发射扇形激光光束。示例性光学接收器可以相对较小,并安装在VR显示器上。这种接收器由小型光学探测器组成,并可安装在头戴式VR显示器上。通过测量每个光束扫过每个接收器/检测器的时间,示例性系统可以确定具体的位置。
28. 《Sony Patent | Unmanned Aerial Vehicle Movement Via Environmental Interactions(索尼专利:基于环境交互的无人机运动)》

竞技场包括多孔表面,多孔表面输出气流,从而为无人机提供升力并将无人机推离多孔表面。气流同时可以提供推力并将无人机推向平行于多孔表面的方向。无人机可包括一个或多个螺旋桨,后者可向无人机提供升力,推力或两者。可以在一段持续时间内修改气流以改变对无人机的升力或推力。可以基于竞技场的区域来修改气流,从而修改竞技场不同区域中的升力或推力。无人机可以包括记录物体世界图像或视频的摄像头。在摄像头馈送呈现给显示器之前,可以对摄像头馈送进行修改,并形成一种增强现实视图。
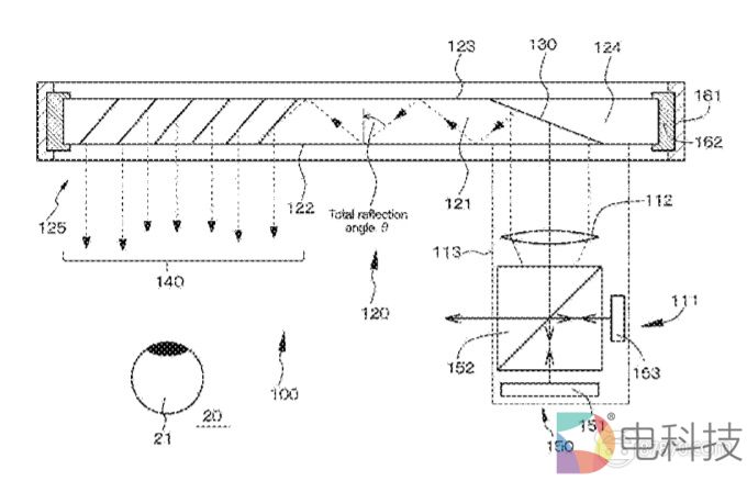
29. 《Sony Patent | Light Guide Unit, Image Display Device, And Display Apparatus(索尼专利:光导单元,图像显示组件和显示组件)》

专利描述了一种图像显示组件,其包括图像形成单元和光导单元。光导单元包括导光板和支撑构件,导光板构造成引导在图像形成单元中形成的图像光。导光板由位于支撑构件的一个或多个缓冲构件支撑。
30. 《Sony Patent | Interactive Input Controls In A Simulated Three-Dimensional (3d) Environment(索尼专利:模拟三维环境中的交互式输入控制)》

专利描述了一种改进的交互式控制过程/服务。所述交互式控制过程/服务包括检测与虚拟现实环境相关联的控制器移动;根据移动确定旋转角度;确定与移动相关联的力的大小;确定虚拟现实环境中的路径;并在虚拟现实环境中投射路径。
31. 《Sony Patent | Foveal Adaptation Of Particles And Simulation Models In A Foveated Rendering System(索尼专利:注视点渲染系统中的粒子和模拟模型的中心凹适应)》

专利描述了一种用于实现图形管道的方法。所述方法包括生成在虚拟场景中产生效果的粒子系统,所述粒子系统包括多个粒子几何形状。所述方法包括从粒子系统中确定粒子子系统,粒子子系统包括从多个粒子几何形状中获取的粒子几何形状子集。所述方法包括在渲染虚拟场景的图像时确定中央凹区域,中央凹区域对应于用户注视点位置。所述方法包括确定效果的至少一部分位于图像的外围区域中。所述方法包括渲染粒子的子系统以产生相应效果。
32. 《Sony Patent | Spectator View Into An Interactive Gaming World Showcased In A Live Event Held In A Real-World Venue(索尼专利:实况赛事中的交互式游戏世界内的的观众视图)》

专利描述的一种方法包括,创建游戏应用的多玩家游戏会话,生成交互式游戏世界的游戏应用发生在于真实世界场所举行的实况活动。根据捕获的视频流生成场地的3D实时视图,并且生成用于锚定至场地物理位置的物理POV。3D实时视图流式传输到远程用户的头显,并呈现实况事件的增强现实视图。接收远程用户以观众视图进入游戏会话的请求。接下来,观众视图传送至远程用户的头显以供显示,观众视图呈现交互式游戏世界的虚拟现实视图。
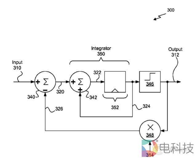
33. 《Nvidia Patent | Low-Latency Display(英伟达专利:低延迟显示器)》

专利描述了生成低延迟图像的方法和系统。所述方法包括以下步骤:接收图像的一部分;选择用于显示所述图像部分的脉冲宽度值;使用脉冲宽度值和脉冲密度调制值来驱动显示组件呈现所述图像部分。用于实现所述方法的逻辑电路可以包括在图形处理单元中或显示设备内。可以根据与头显相关联的实时位置信息来呈现所述的图像部分。
34. 《AMD Patent | Efficient Streaming Of Virtual Reality Content(AMD专利:虚拟现实内容的高效流式传输)》

专利描述了处理VR系统数据的方法和设备,其包括接收追踪信息,所述追踪信息包括用户位置信息和眼睛注视点信息中的至少一个。根据追踪信息,一个或多个处理器可以预测用户视点。根据所述预测,在所述的估计位置显示下一图像帧。根据估计位置确定先前编码帧中的对应匹配部分,并编码下一帧视频数据。
评论区(0)