苹果确切申请了相关的专利,如果在iPhone 7/7 Plus没有实现,那么则极有可能出现在未来的iPhone上面。所以,如果想窥探苹果未来iPhone的新特性,不妨先来看看苹果最近申请那些与手机相关的新专利。
自iPhone 6s/6s Plus发布以后,关于iPhone 7/7 Plus的传闻便层出不穷。如,没有「白带」的设计、防水和摄像头不突起等等的传闻。虽然这些都是传闻,但是苹果确切申请了相关的专利。如果在iPhone 7/7 Plus没有实现,那么则极有可能出现在未来的iPhone上面。所以,如果想窥探苹果未来iPhone的新特性,不妨先来看看苹果最近申请那些与手机相关的新专利。

Home键也支持「重压」或「轻压」操作
苹果iPhone 6s/6s Plus除了带来大幅度的硬件升级外,其最大的亮点便是3D Touch功能。然而,苹果并不满足于仅将这种压感操作适配在iPhone的屏幕上面。近日有消息显示,苹果已经通过了一项与3D Touch触控技术有关的专利,也就是在未来iPhone或iPad的Home键上面集成类似3D Touch的压感操作技术。

根据相关文件显示,苹果的这项专利命名为「压敏指纹输入系统」。专利相关描述为,在Home键中加入可检测按压力度的电容传感器,使Home键在Touch ID(指纹识别)的基础上增加类似3D Touch的功能。这意味着在Home键可通过不同的按压力实现不同的操作,如我们可以通过重压Home键,而快速启动相机或手电筒等功能。此外,苹果甚至还可能将压感与Home键的Touch ID组合形成其它新的功能。
新机登陆iCloud便可使用Touch ID
苹果在iPhone 5s上面集成指纹识别的Touch ID时,便一直强调其用于保护Touch ID生物识别数据的保障措施,也就是说用于存储数据的独立存储芯片(Secure Enclave),其他应用无法通过生物特征数据访问,而数据也不会存储至服务器。但是,苹果最近曝光的一项新专利则显示,苹果正考虑使用iCloud等云服务来储存用户的指纹数据。

苹果该项新专利被称为「通过云计算设备和相关方法同步指纹生物传感器数据」。专利显示,苹果有意在云端同步Touch ID的指纹数据,这种便可以省去在新iPhone或iPad上手动设置Touch ID的麻烦。也说是说,当我们更换新机的时候,直接登陆iCloud便可以下载指纹数据,以及使用Touch ID功能。

至于安全问题。苹果在专利申请中说明,称首次收集到的指纹信息会通过自身处理器,采用特殊的加密算法,上传该账户的识别信息以及指纹生物特征信息至云端。然而,使用其它设备时需要接受指纹信息也会通过收集数据与云端指纹数据匹配。只有当两者符合的时候,才会下载更多的云端加密指纹数据。不过,虽然是说具备加密处理,但上传到云端便意味着有泄露的风险,如早前iCloud的艳照门事件。
防尘防水的iPhone,索尼粉真的没意见?
由于iPhone 6s/6s Plus的内部加入了大量的硅胶垫圈以保护主板线路和屏幕的设计,所以其防水性能也得到明显的提升。但是,遗憾的是iPhone 6s/6s Plus并不是真正意义的手机。然而,根据苹果最近一些专利显示,苹果或许有意推出防尘防水的iPhone。

通过孔口排出液体
美国商标专利局最近公布了苹果一项名为「通过孔口排出液体」的专利,该项专利描述了一种通过改变声学器件(扬声器或是麦克风)内部导电元件的电荷分布,从而将液体排出手机的技术。
据专利文件描述,当声学模块内的传感器检测到水汽进入后,就会通过策略性地改变腔体壁上的电荷分布来收集或移动液体,从而将侵入的水汽通某些过孔洞排出。另外,专利内也描述了利用扬声器单元产生的声波来驱除液体的方法。

接口保护防水设计
此外,苹果还申请了接口保护设计的专利,该设计可以通过控制机制自动屏蔽iPhone和iPad等设备的扬声器、麦克风等开放接口(包括SIM卡槽、耳机插口),保护设备内部的敏感组件免受液体等污染物的影响。
由苹果近几年iPhone的设计,以及众多与提高防水设计的专利来看,苹果显然是有意打造支持防水的手机。不过,就怕当苹果带来防水的iPhone时,索尼粉会说,「唉!这个早就玩腻了!」
太薄任性,如果摄像头不突呢?
由于追求薄的机身设计,所以苹果也不得不在摄像头突起这个问题前面妥协,当然这也成为我们经常调侃iPhone 6和6s的地方。然而,根据苹果一项新专利显示,苹果似乎找到了压缩摄像头组件厚度的设计,从而避免手机摄像头突起。

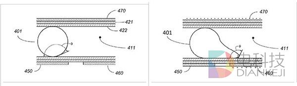
苹果该项专利名为「微型高分辨率相机」,就是通过球面传感器及镜头阵列来捕捉高分辨率图像。这种成像方案仅需三组镜片,由于镜片数量的减少,其厚度方面也会大量缩减。此外,镜片数的减少还有利于降低入射光损失,拍出的照片会更加明亮锐利。不过,镜片组数降低也意味着衍射与畸变更难控制,由此便只能靠苹果的软件优化来弥补。
苹果使用OLED屏,可能是为了这个!
最近关于新iPhone采用OLED屏幕的传闻同样是不绝于耳,而OLED主要供应用三星和LG频繁的动作似乎也证实了此传闻。由于OLED 相对于 LCD 具有更薄、更省电、更高色域和视角等特点,所以苹果使用OLED屏便成了理所当然的选择。此外,苹果可能更看重OLED的可弯折特性,为将来设计环绕屏的设备作准备。

根据美国专利商标局消息,苹果已经考虑采用“环绕式显示屏”的设计,而且也申请相关的专利。苹果的该项专利命名为「采用环绕式显示屏的电子设备」,资料显示该设备采用了「中空罩面结构」的设计,配备了360度环绕式的屏幕,而且在外面添加了一层蓝宝石等晶体材料作为保护材质。

不过,目前曲面屏的使用处于试用阶段,而且目前的OLED曲面屏也并未完全成熟。所以,相信在短时间内,苹果并不会推出类似360度环绕显示屏的iPhone。但,不排除苹果在未来会推出这样的产品。
事实上,每年苹果新奇的专利都会导出不穷,甚至还有大部分难以实现的专利。然而,上述提到的专利则极有可能在未来新iPhone上实现,至于是第几代iPhone?那么,我们只有拭目以待了。
评论区(0)