在大部分人"更多就是更好"的观念下,天线数量始终是衡量一个路由器的重要标准, 无论是京东上卖的最好的TP-Link,还是博得发烧友们喜爱的Netgear"夜鹰"
在大部分人“更多就是更好”的观念下,天线数量始终是衡量一个路由器的重要标准, 无论是京东上卖的最好的TP-Link,还是博得发烧友们喜爱的Netgear“夜鹰”,做一个像八爪鱼一样的路由器,是路由器厂商增强WIFI性能、讨好消费者的最有效手段。
当然,为了更好的WIFI效果,或许你还可以尝试使用更多数量的路由器。

极路由SOHO无线套装定位于面向小微企业的专属智能路由器,打上“企业”这个标签,自然意味着路由器需要与更多的设备相连、拥有更大的信号覆盖面积,而极路由这次的解决方案也是简单粗暴:三个路由一起上。
这三个极路由有点不同

好吧,不管是用多大的包装,打开极路由SOHO无线套装的一瞬间,还是像极了“双十一打特价,脑袋一发热买了三台极路由”的场景。

极路由SOHO无线套装利用三台终端设备,实现一台AC主机+两台AP子机的组合方案,具备三根外置天线的AC主机接口配置上接近于普通的极路由,甚至在侧面保留了USB接口。

体型较小,具备两根天线的AP子机比较特殊,背后只设置了一个POE接口,即Power Over Ethernet,用网线与AC主机的POE接口相连,即可单独凭借网线,实现供电,节约了两个插座的空间,对大部分办公室来说,插座资源还是相当宝贵的。

显而易见的是,想要覆盖更大的面积,需要用较长的网线将极路由SOHO无线套装中的AC主机和AP子机分布在相距较远不同的位置,以我们手中的这套产品为例,包装中却一条网线也没有附带,可能,谈到“企业”这么大空间,网线也是一笔不小的成本吧。
熟悉的操作方式,信号强过TP


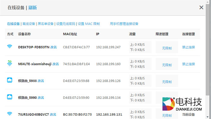
作为极路由大家族中的一员,极路由SOHO无线套装的管理方式和普通的极路由完全一致,通过Web界面可以看到AP子机被视作是两个外部网络设备连接在AC主机上。

手机APP同样适用于极路由SOHO无线套装,利用插件实现全公司科学上网可谓相当方便,手机端展示设备的工作形式和普通记录仪挂上极卫星之后类似,AP子机的连接模式被限定为扩展模式。
最后,阵势摆了出来,信号好不好才是用户做关心得问题,值得注意的是,虽然极路由SOHO无线套装支持双频,但5Ghz频率WIFI仅有AC主机提供,用于扩大面积的AP子机只搭配了2.4Ghz频率WIFI,从穿墙能力2.4G大于5G的角度出发,这样做显然没有问题,可干扰更少的5G WIFI可能也只有靠近AC主机的老板和老板的秘书能享受的到了。

信号强度方面,与电科技办公室现阶段自用的TP-Link WDR7500作为对比,路由器在同一位置下,五米之内的使用距离,极路由SOHO无线套装的表现非常出色,两台AP子机的WIFI信道和AC主机有所区别,好在信号强度处在旗鼓相当的水准。

十米外的穿墙测试,2.4G频段极路由SOHO无线套装依旧领先,只能依靠AC主机发射5G频段却并不稳定,所以极路由SOHO无线套装还是一个以2.4G WIFI为主的网络解决方案,对5G网络有特殊要求的企业这里就需要多加考虑了。
极路由SOHO:似乎只是一个关于插座的问题

信号强,管理便捷,甚至是金属机身工艺出众,这些极路由一直以来的固有特性,在极路由SOHO无线套装都有所体现,不过,从另一方面看,售价过千元的极路由SOHO也确实没有出现什么真正超出人预期的地方,AC主机+ AP子机的连接方式和用网线连接三台普通的极路由实际效果并没有明显的区别,较为特殊的POE似乎唯一的实际意义只是省下了两个插座的空间而已。

花远不到1000元的价格买三台极路由和两个插线板?还是花1299元的价格买极路由SOHO无线套装?似乎还是前者更划算一些。
评论区(0)