虽然早在iPhone 7时代,苹果就开始宣传自家的产品支持IP67防水防尘,但是随着时间的流逝,iPhone零部件的老化,iPhone的防水能力难免会与日剧减。为了延长iPhone的防水能力,苹果似乎
虽然早在iPhone 7时代,苹果就开始宣传自家的产品支持IP67防水防尘,但是随着时间的流逝,iPhone零部件的老化,iPhone的防水能力难免会与日剧减。为了延长iPhone的防水能力,苹果似乎要从技术上下功夫了。

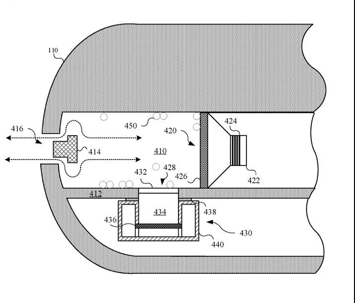
近日,外媒曝光了苹果的一项新专利,专利显示,苹果将会将Apple Watch上成熟的防水技术嫁接到iPhone上,据悉,Apple Watch在被动防水之外,还支持以扬声器膜片震动的形式排出设备内部的水分,即使是佩戴手表还海洋中游泳也不必担心设备进水。由此,推测iPhone新品可能也会增加一些特殊的应用场景。
据了解,苹果将于近期发布iPhone 12系列产品,其中高端产品还将会支持TOF镜头,不知道Apple Watch上成熟的防水技术会被苹果仅仅应用在高端iPhone产品上还是将会在iPhone 全系上得到应用。
声明:本站原创文章文字版权归电科技所有,转载务必注明作者和出处;本站转载文章仅仅代表原作者观点,不代表电科技立场,图文版权归原作者所有。如有侵权,请联系我们删除。
分享到:
评论区(0)