自从去年8月在港交所递交了上市申请后,国内人工智能独角兽企业北京旷视科技有限公司(以下简称“旷视科技”)的IPO之路颇为坎坷。港股IPO折戟后,今年再次传出旷视科技准备A股上市的消息,但至今悬而未决,其上市动态也一直备受资本市场关注。
近日,李开复在公开演讲中一段关于旷视科技与蚂蚁金服交易人脸数据的言论,再次将旷视科技推至风口浪尖。身处交易用户数据隐私的舆论漩涡,或许又将为旷视科技的上市之路蒙上阴影。《投资者网》就相关信息试图联系旷视科技,但截至发稿,尚未收到任何回复。
身陷“交易用户数据隐私”漩涡
9月12日,创新工场董事长兼CEO李开复在HICOOL全球创业者峰会上表示,曾在早期帮助旷视科技公司找了包括美图和蚂蚁金服等合作伙伴,让他们拿到了大量的人脸数据,并在随后的摸索过程中找到了几个有价值的商业化方向。
该言论一出,舆论一片哗然。旷视科技与蚂蚁金服(后于2020年更名为“蚂蚁集团”)交易客户数据隐私,引发公众的热议,该话题一度登上了微博热门话题榜。随后,蚂蚁集团、旷视科技、李开复纷纷在微博澄清。蚂蚁集团澄清称:“蚂蚁集团从未提供任何人脸数据给旷视科技,双方过往合作仅限旷视科技授权其图像识别算法能力给蚂蚁单独部署和使用,不涉及任何数据的共享和传输;目前双方已无相关业务合作。”

李开复则在微博上致歉,称系个人口误,并表示:“合作中,旷视提供AI技术给合作方,数据一直存在于客户服务器中,不涉及任何数据共享与传输。”
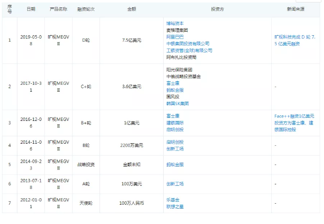
公开资料显示,旷视科技是由印奇、唐文斌、杨沐三位清华大学“姚班”毕业生于2011年创立,依靠以人脸识别为核心的技术和商业布局,最早以“Face++”的名字为外界熟知。在业内,旷视科技与商汤科技、依图科技、云从科技并称AI计算机视觉领域“四小龙”。旷视科技一路走来,其发展与蚂蚁集团等投资方的大力支持分不开。企查查信息显示,截至2019年5月8日,成立未满10年,旷视科技已完成7轮融资,融资总额超12亿元美元,而蚂蚁金服参与了其中两场融资。2014年9月,蚂蚁金服首次向旷视科技进行战略投资,投资金额未知;2017年,蚂蚁金服与阳光保险集团、中俄战略投资基金、富士康、国风投、韩国SK集团共同向旷视科技投资3.6亿美元,使旷视科技完成C+轮融资。值得注意的是,2019年5月16日,旷视科技进行了一次工商信息变动,4家企业退出股东行列,分别是北京纳远明志信息技术咨询有限公司、天津联想之星创业投资有限公司、北京贝鸿眉科技有限公司和云鑫投资管理有限公司。其中,云鑫投资是蚂蚁金服的全资子公司,纳远明志的大股东是联想云科技,贝鸿眉的股东是创新工场。而联想、蚂蚁金服、创新工场都是旷视的投资方。工商信息变动后,旷视科技的股东仅剩下三位创始人,其中,印奇持有75%股份,唐文斌与杨沐各自占股12.5%。截至发稿,企查查信息显示,旷视科技仍保持该股权结构,未发生变化。彼时,旷视科技发布公告称,此次工商变动为正常调整,是常规性集团内部结构优化,集团层面没有股东退出。
2019年8月25日,旷视科技向港交所递交上市申请,其股权结构曝光。旷视科技招股书中显示,蚂蚁金服持股比例为14.33%,淘宝中国的持股比例为15.08%,国风投持股11.3%,创始人印奇的持股比例为8.2%,另外两位创始团队成员持股比例为唐文斌5.9%、杨沐2.7%。根据招股书,旷视科技采用的是A/B股架构,A类股份持有人每股可投10票,B类股份持有人每股可投一票。旷视科技三位联合创始人合计持股16.8%,虽然持股比例小,却是A类股,拥有旷视科技话语权。
旷视科技官网显示,旷视科技是全球领先的人工智能产品和解决方案公司,专注于个人物联网、城市物联网和供应链物联网,向客户提供包括算法、软件和硬件产品在内的全栈式、一体化解决方案。根据招股书,在个人物联网、城市物联网和供应链物联网三大业务中,城市物联网占比最多。2017年至2019年上半年,该项收入分别为1.68亿元、10.57亿元、6.95亿元,分别占同期总收入的53.6%、74.1%、73.2%。招股书显示,2016年至2019年上半年,旷视科技分别实现营业收入6780万元、3.13亿元、14.27亿元和9.49亿元。但是在净利润方面,旷视科技一直处于亏损状态。同期,旷视科技的净利润亏损额分别为3.43亿元、7.59亿元、33.51亿元和52亿元。由此来看,旷视科技的亏损额不断在扩大。从营收来源来看,旷视科技的收入存在大客户依赖。招股书显示,2016年至2019年上半年,旷视科技的前五大客户合计分别占总收入的41.7%、24.9%、22.0%及34.1%。此外,2018年至2019年上半年,旷视科技的前20大客户分別贡献总收入的44.7%及57.1%。这些客户包括金融科技公司、银行、智能手机公司、第三方系统集成商、政府机构、物业管理者、物流公司等。值得一提的是,蚂蚁集团不仅是旷视科技的主要股东,还是其重要客户。例如,蚂蚁金服旗下的信用评分服务供应商芝麻信用通过使用FaceID解决方案为其部分企业客户提供身份验证解决方案。招股书显示,芝麻信用每次向使用FaceID的客户收取最低1元钱的费用,其中85%的费用支付给了旷视科技。其中2019年上半年芝麻信用支付的费用为660万元。但是蚂蚁集团在关于与旷视科技交易用户的澄清声明中表示, “目前双方已无相关业务合作” 。旷视科技的业绩是否会受此影响?《投资者网》向旷视科技求证,公司方面并未给予回应。旷视科技在港股递交上市申请已经一年有余,至今尚未获得港交所上市委员会关于通过聆讯的信函。目前,公司在港交所的IPO进程已失效。关于港股IPO受阻原因,外界众说纷纭,但主要有两方面猜测:一方面,是旷视科技被美国列入实体清单,另一方面则是旷视科技融资发展遗留问题、存关联交易、业绩亏损等情况。今年6月3日,有消息称,旷视科技中止了港股上市进程,接下来公司将进一步讨论在港股或者A股上市的可能性。据澎湃新闻报道,旷视正在积极考虑科创板上市。同时,中止港股上市消息不属实。净利连续四年巨亏其亏损额持续扩大,重要客户蚂蚁集团或许也已无业务合作,如今又身陷交易用户隐私数据的舆论泥潭,头顶AI独角兽光环的旷视科技,上市之路波折重重。正如旷视科技创始人印奇曾对媒体所说,IPO的不可控,确实让其感受到了压力。
声明:本站原创文章文字版权归电科技所有,转载务必注明作者和出处;本站转载文章仅仅代表原作者观点,不代表电科技立场,图文版权归原作者所有。如有侵权,请联系我们删除。
评论区(0)