自打折叠屏手机这个概念一出,针对苹果获得折叠专利的曝光就没停止过,可是折叠iPhone的影子到现在都没有露出一下。在三星、华为等安卓厂商已经逐渐开始折叠手机的量产时,苹果的
自打折叠屏手机这个概念一出,针对苹果获得折叠专利的曝光就没停止过,可是折叠iPhone的影子到现在都没有露出一下。在三星、华为等安卓厂商已经逐渐开始折叠手机的量产时,苹果的相关产品依然还活在专利的爆料新闻里头。
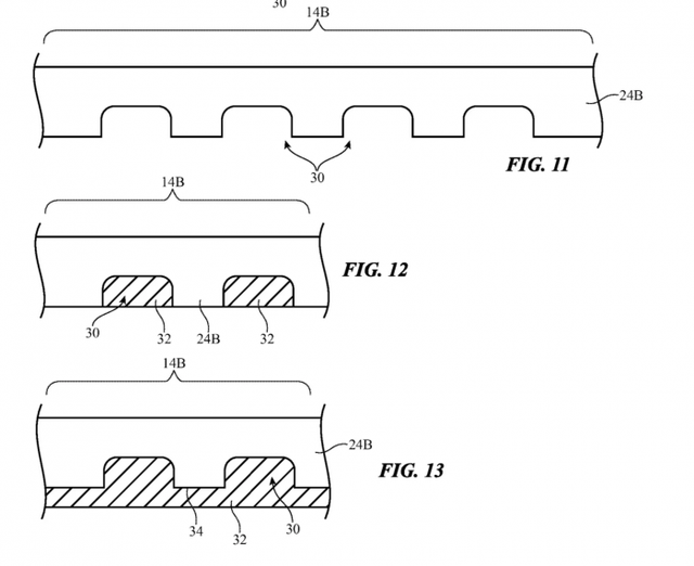
近日,就又有外媒爆料了苹果折叠相关专利的细节。据专利显示,苹果计划在玻璃内部切出一系列凹槽,并且在凹槽中填充与玻璃具有相同折射率的弹性体聚合物,以此来让屏幕具备更高柔性的同时,让凹槽不会被肉眼所看到。

并且,在专利的细节中提到了”设备具有铰链式的折叠结构”,并且”显示屏可能与弯曲轴重叠”。从这一点上看来,这款设备应该和微软的可折叠Surface Duo非常相似。

不过微软的Surface Duo更像是双显示器拼接在一起,而非真正的弯曲屏,中间弯曲部分有一个明显的间隔缝隙。显然如果苹果要推出折叠设备的话,并不会满足于这样一个半吊子的显示方式上。
在手拿这么多折叠专利之后,相比可折叠的苹果手机已经是指日可待了。只不过,当iPhone可以折叠展开之后,iPAD将要何去何从呢?
声明:本站原创文章文字版权归电科技所有,转载务必注明作者和出处;本站转载文章仅仅代表原作者观点,不代表电科技立场,图文版权归原作者所有。如有侵权,请联系我们删除。
分享到:
评论区(0)