2019年,折叠屏手机层出不穷,不论是消费者还是厂商都看到了折叠屏手机的优势。近日,外媒曝光了一项苹果专利,似乎预示着苹果也将加入折叠屏大军。细节方面,苹果折叠屏产品将采用内
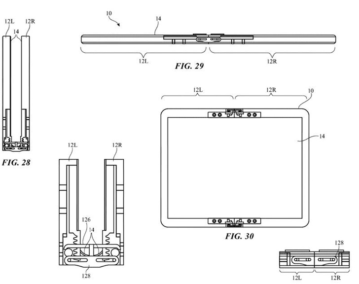
2019年,折叠屏手机层出不穷,不论是消费者还是厂商都看到了折叠屏手机的优势。近日,外媒曝光了一项苹果专利,似乎预示着苹果也将加入折叠屏大军。


细节方面,苹果折叠屏产品将采用内弯的设计,与三星的折叠屏手机有些类似,不过从专利图来看,苹果似乎也没有规避内弯时屏幕连接点的缝隙。


考虑到苹果有着优质的iPad软件生态,一旦iPhone采用折叠屏技术,展开后,完全就是一台平板电脑,届时我们或许在口袋里就能随时随地使用iPad版本的软件。
尽管目前苹果的专利技术已经曝光,但是考虑到折叠屏产品售价目前居高不下,并且产品的质量也不能很好的保障,想必苹果并不会急于推出相关产品,而是等技术成熟后,一鸣惊人。
声明:本站原创文章文字版权归电科技所有,转载务必注明作者和出处;本站转载文章仅仅代表原作者观点,不代表电科技立场,图文版权归原作者所有。如有侵权,请联系我们删除。
分享到:
评论区(0)