亚马逊一直在探索新的商品存储/投递方式,且对此从来都不会遮遮掩掩的。最近曝光无人机投递塔专利就是一个例子,它基本上可以被看作是一个摩天大楼般的蜂巢,只不过是用来存储无

亚马逊一直在探索新的商品存储/投递方式,且对此从来都不会遮遮掩掩的。最近曝光无人机投递塔专利就是一个例子,它基本上可以被看作是一个摩天大楼般的蜂巢,只不过是用来存储无人机的。
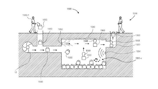
而现在,亚马逊的另一项专利又遭到了曝光,它的奇怪程度则更胜一筹。在这个名叫“水下存储设施”的专利当中,亚马逊描述了一种在“液体中”存储产品的方式,存储深度则由附着在每个产品上的小盒子所决定。

这个小盒子可以说是系统的关键。根据专利的描述,它能够通过多种不同的方式来获取指令,比如声波信号。将特定的深度信息发送给它,它就能上浮或下潜到这个具体的深度。而当商品需要配送时,它则可以根据指令将其带到水面。随后它会被取下并被附着在另一部商品上面。
根据专利图示,亚马逊想要对大部分过程进行自动化。小盒子可连接到一个通讯网络当中,它的深度控制功能则可通过深度传感器、压缩空气和压载舱的联合工作所实现。而GPS功能的加入则让亚马逊可以把商品丢进任意水体当中,以供日后的取回。在这套系统当中,亚马逊甚至还想到了使用风扇把商品吹到从表面无法触及的水下区域。

这种水下仓储方式乍看上去可能有点疯狂,但仔细想想,它实际上也能带来相当多的好处。那些带有防水包装且配备了那种小盒子的商品可以直接从卡车甚至飞机上被投递到水中,而不必担心出现损伤。
而在水下,小盒子可以代替人类工人对商品进行管理。此外,购买和租赁水体的价格肯定要比陆地区域更加便宜,因此这也能帮助亚马逊节约成本。而如果选择无法进行其他任何用途的水体,那价格肯定会更低一些。
亚马逊认为,这种水下仓储方式将能解决如今依然困扰订单履行中心的空间使用不效率问题。
评论区(0)